AMD也要搞大小核? 最新专利曝光
经常关注科技新闻的同学们应该还记得,就在前段时间,深受AMD困扰的Intel在发布会上,正式发布了一款“跨时代”的处理器Lakefield系列。
简单来说该系列的产品颇有种ARM处理器中常见的big.LITTLE混合架构理念,Intel此次首发的i5-L16G7便是采用了3DFoveros封装,1大4小共5核心,大核为Sunny Cove,小核为Tremont。
作为业内名副其实的TOP企业,其发展方向无异于指明的业内的发展趋势。(AMD目前市值993亿不到Intel2033亿的一半,营收更是差了一个数量级)

不过AMD也没有停下自己研发设计的脚步,他们同样也把目光着眼于big.LITTLE混合架构上面。
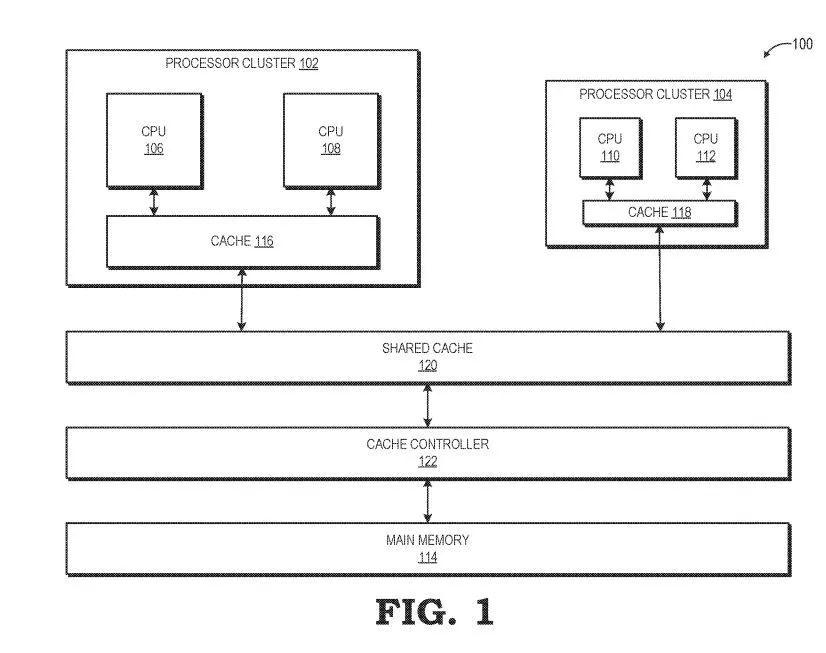
最近有人曝光了AMD 的专利文档,文档中显示,AMD设计出了一种低功耗操作的新指令集子集。
具体来说,它允许一个指令子集在全功能核心上面运行功耗更高、对性能要求更敏感的任务,而第二个指令子集则在相对较小的简化核心上面,运行那些轻度负载的任务,以提高运行和功耗效率。甚至在部分核心的“闲时”会将其关闭以进一步降低功耗
同时在这项专利中,也提出了如何使核心使用共享内存以加快线程的传输的方法。
同时有人指出,AMD的该项专利也有可能允许处理器根据不同核心的所集成的不同指令集独立地在每个集群上运行相应类型的线程。
在推仔看来,虽然我之前曾经提到过,AMD与Intel对于未来的布局有所不同,Intel着手在大小核上面做文章,而AMD依旧着眼于I/ODie控制下的多Die封装。
但是平心而论,就目前的处理器生态而言,AMD自己也确实应该想想办法了,虽然说是他们先开的第一枪挑起了“核战争”,但是对于移动平台甚至是桌面平台来说,很多的非专业用户并享受不到这么多核心带来的优势,毕竟不是所有软件都对这么多核心做出了优化。而对于移动平台来说,散热本身就是限制性能的重要因素之一,疯狂的堆砌核心本身对于厂商的散热设计来说也是一个很大的考验。
从另一个角度而言,AMD所实行的多Die封装本来就是为了解决良品率和降低成本的手段之一,但是当“无限制”核战开启之后,成本势必还是要上升,届时锐龙要保持着价位优势的前提下再次实现核心数的飞跃就会变得越来越困难了。



