大小核一统江山 AMD相关专利曝光【推仔说新闻】
众所周知,目前主流PC中所使用的处理器,除了自成体系的苹果M1就剩下Intel和AMD在分庭抗礼。在此之前Intel就一直在宣传自己未来的酷睿系列处理器将会采用大小核设计。

不过关于AMD的未来却一直有不同的声音,之前曾经有过传闻表示AMD将会在未来也使用大小核进行设计,其中大核心是Zen5,小核心是Zen4D,并采用3nm制造工艺,集成RDNA GPU,不过这个消息捕风捉影的感觉更强,毕竟Zen3都还没影呢。

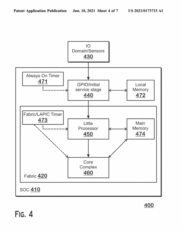
不过近日,美国专利与商标局公布了AMD申请的一份专利,主题为“异构处理器之间的任务转移”,似乎揭示了AMD的的确确打算在大小核上发力。
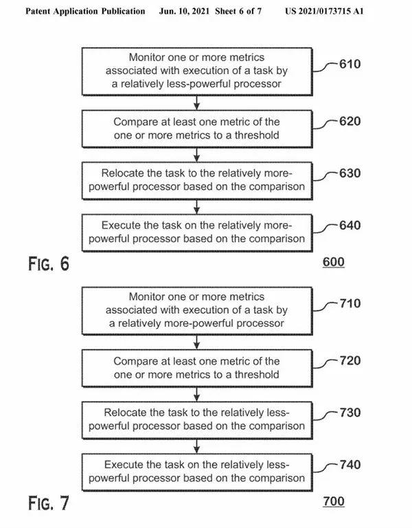
该专利的具体提交时间为2019年12月。根据专利描述,AMD基于一种或多种条件,在大核心、小核心之间分派任务,包括执行时间、最大性能状态内存需求等等。

同时该专利也解释了任务在核心之间的移交。值得一提的是,AMD似乎更看重小核的作用,首先接受任务的就是小核心,然后再判断是否移交。
在推仔看来,AMD这个专利一出,似乎意味着大小核在未来真的是一个趋势,不过平心而论的是,如果小核心的能力足够负担任务,确实没必要时时刻刻调用大核心执行,徒增功耗而已。
并且AMD这个处理器想要落地怕还要好久,届时有着Intel的探路,微软新系统对于大小核的适配也应该做的差不多了,到时候BUG肯定会比Intel刚上市时好很多。



