PS5 设计专利图曝光:散热组件形似蜗牛壳
本文转自:IT之家
作者:江离
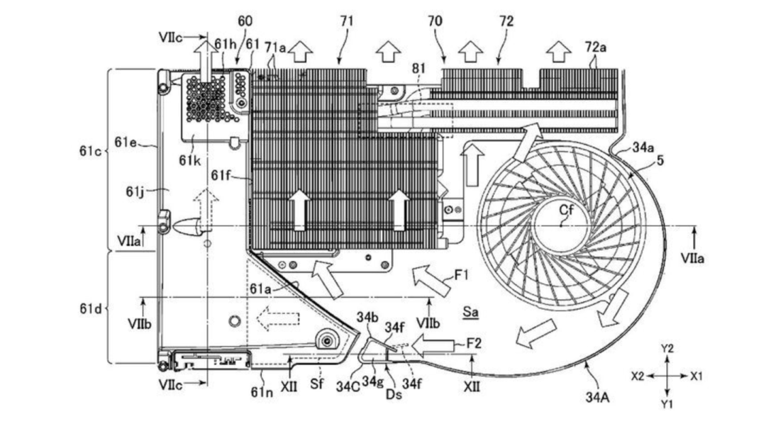
近日,索尼 PS5 主机的设计专利图曝光,展示了该主机的一些内部工作原理。

2020 年 9 月 24 日,索尼互动娱乐公司向世界知识产权局 (WIPO) 申请了一项“电子设备”专利。该文件于 2021 年 9 月 30 日公开,121 页的设计图中详细描述了 PS5 的工作原理。从 PS5 的硬盘到散热系统都有提及。

IT之家了解到,PS5 主机于 2020 年 11 月 12 日上市,在硬件上比前代 PS4 有大幅的提升,且可向下兼容 PS4 和 PlayStation VR 的游戏。尽管疫情造成主机货源短缺,但 PS5 在去年成为索尼销售最快游戏主机。
近期,有关 PS5 Pro 的传言已经开始在网上爆发。据外媒猜测,距离索尼发布 PS5 Pro 主机至少还有两年的时间。
