微软正在设法用织物材质覆盖 Surface Pen 触笔表面
本文转自:IT之家
作者:微尘
据 Windowslatest 报道,据一项 Microsoft Surface Pen 专利显示,微软似乎打算优化 Surface Pen 的外部设计从而让用户拥有更棒的使用体验。


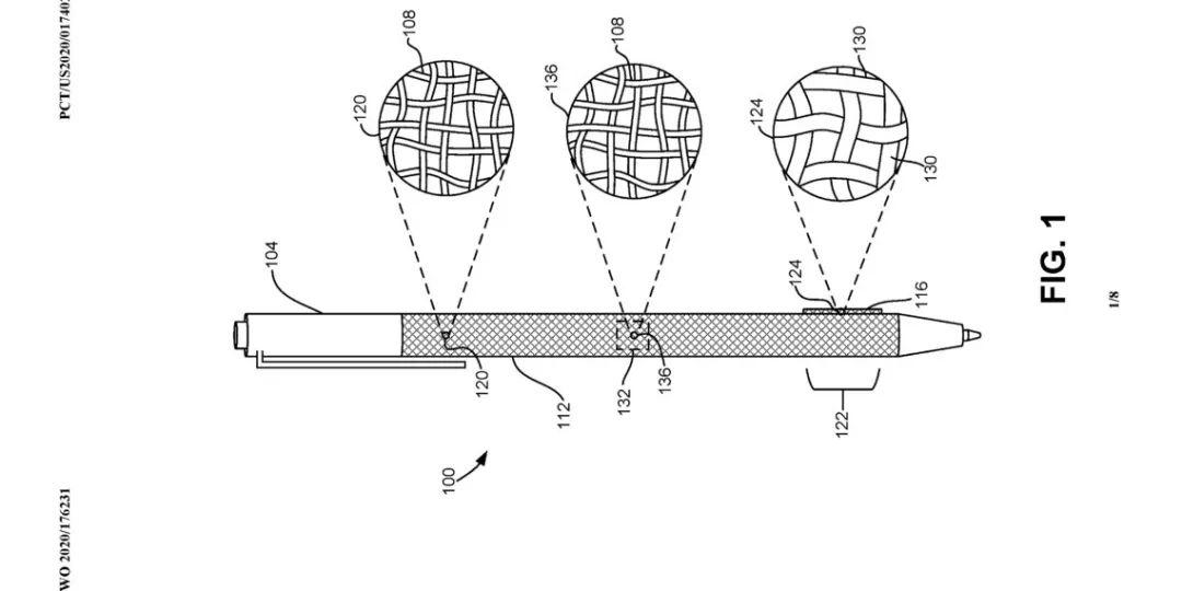
该专利的标题为 “电子设备的纺织品覆盖”,由 WIPO 于 9 月 3 日发布。本发明本质上是将 Surface Pen 表面用织物覆盖。当手写笔内的无缝管被加热到阈值温度以上时,织物将收缩。该专利描述了另一种方法,其中笔在其无缝管中具有更多结构纤维,该结构纤维将包围电子设备的一部分。
IT之家了解到,微软已经生产了许多采用 Alcantara 面料的 Surface 产品,包括 Surface Laptop 和 Surface Pro。阿尔坎塔拉(Alcantara)是一种意大利造的面料,看起来很像麂皮绒,是一种带有拉毛处理的皮革。阿尔坎塔拉(Alcantara)由 68% 的聚酯纤维,约 32% 的聚氨酯制成,但使这款织物脱颖而出的其他材料仍是未知且保密的。
